屋根の施工方法
1.母屋間で断熱層を構成する場合
- 母屋と母屋(棟木・軒桁)との間に、下図のようにパイナルフォームを施工します。
基本2つのパーツにより施工し、サネによって幅を調整します。上下とも母屋に突き付け、
隙間のないように施工して下さい。垂木に向かって釘等で固定をします。 - 屋根用パイナルフォームと妻壁用パイナルフォームは密着させ、隙間が生じないように施工します。

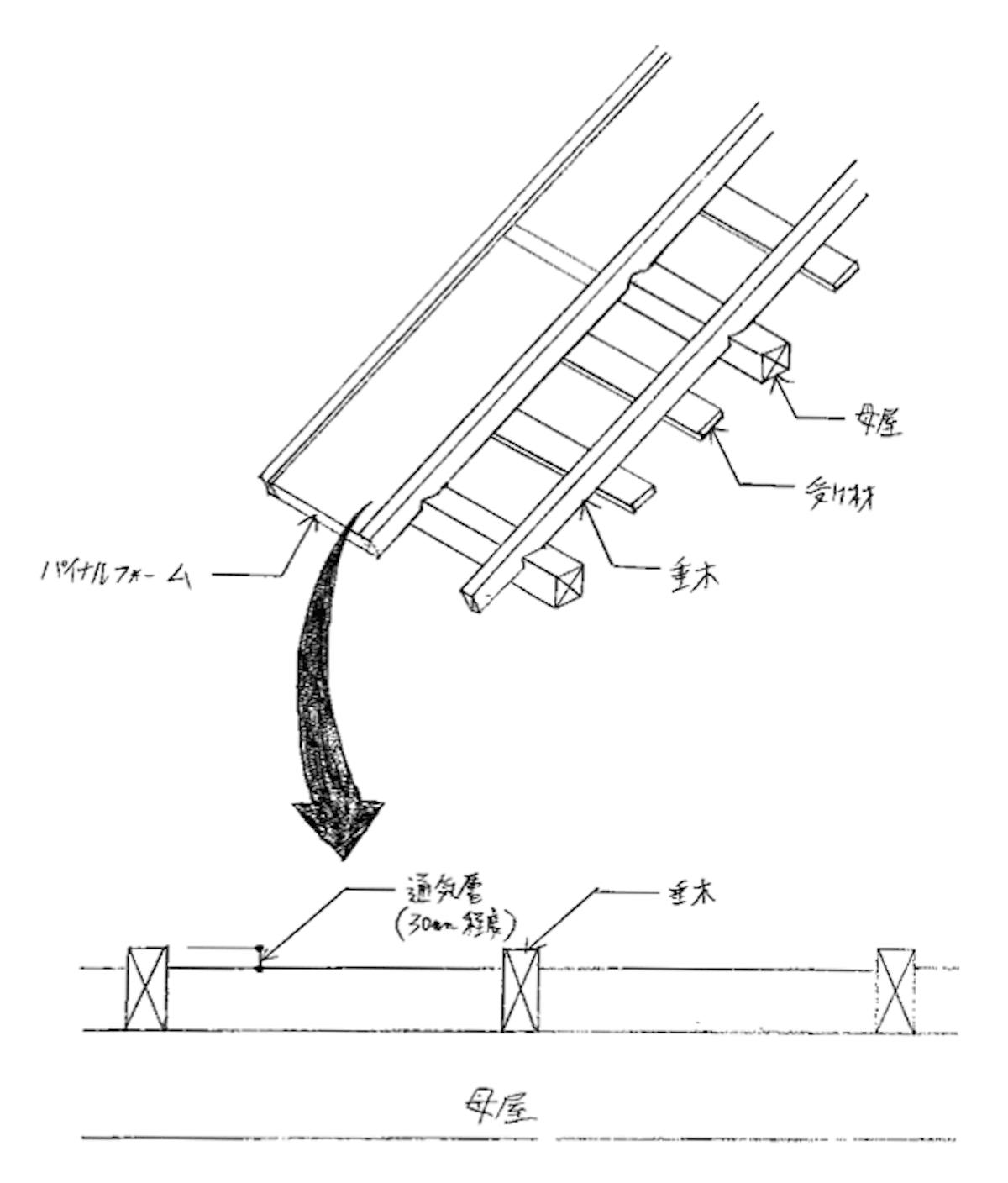
2.垂木間で断熱層を構成する場合
- 垂木間に入れ込み断熱層を構成します。
- 垂木間で断熱層を構成した場合、棟換気併用を標準としますので、垂木の高さは、30ミリ程度の通気層がとれる寸法にして下さい。
- パイナルフォーム同士の継ぎ目は原則母屋の上で行い、隙間のないように突き合せて施工して下さい。
又継ぎ目が母屋の上にこない場合には、パイナルフォームの施工前に受け材を取り付けて下さい。
※継ぎ目は気密テープ貼りすると万全です。
※高所作業となりますから、受け材の施工にあたっては落下防止等、安全策を十分にとってから行って下さい。

3-1.棟換気
- 屋根で断熱層を構成する場合、棟換気を併用して下さい。
(夏季には日射で熱せられた野地板裏面の熱気を排出し、一年を通して、通気による排湿効果が期待でき、結露に対する安全性がより高まります)

3-2.桁・梁上で断熱層を構成する場合
- 上にパイナルフォームを敷き詰めて断熱層を構成します。
その場合、束部分を切り欠き隙間のないように施工して下さい。 - パイナルフォーム同士の継ぎ目は原則桁・梁の上で行い、隙間のないように突き合せて施工して下さい。
又継ぎ目が桁・梁の上にこない場合には、パイナルフォームの施工前に受け材を取り付けて下さい。
※継ぎ目は気密テープ貼りすると万全です。

